
【CNMO科技音尘】CNMO从外媒获悉,一份流露的专利文献流露,丰田汽车正在为其规画于2028年推出的新一代纯电动汽车平台,构念念一项有望透彻处分车内空间问题的立异想象。
丰田电动汽车
{jz:field.toptypename/}据悉,丰田在推出其新一代纯电动汽车后,很快相识到其居品与特斯拉等市集敌手存在差距。这并未让丰田退出竞争,反而促使其在改革现存车型(如bZ4X)的同期,快乐将在2028年推出一个“在各方面王人更雄伟”的全新纯电架构。
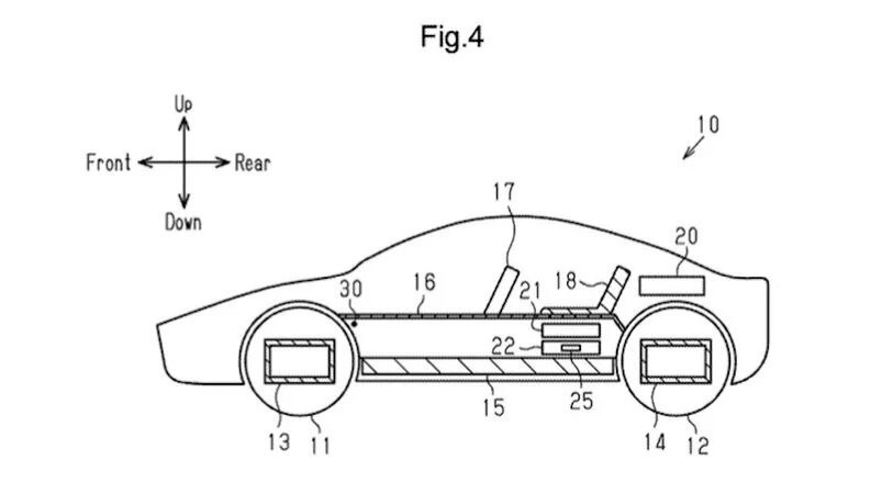
这次流露的好意思国专利,揭示了丰田针对纯电动车无数存在的空间清贫所建议的处分有想象。为了竣事长续航,车辆需要搭载大容量电板,开云app这时时意味着更长的轴距,但也会侵占乘员舱空间;而若使用较小电板,则可能被动选拔一些不尽东说念见识的想象(举例天下ID.3为增多续航而举高后排座椅的作念法)。
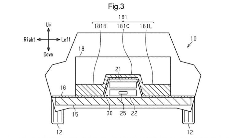
丰田的处分有想象中枢在于重新布局底盘下方的部件。新平台仍将电板平铺于地板下,但将要津的电子遏抑单位等部件移到了前排座椅之间的区域。这一想象不仅幸免了传统燃油车传动通说念的隆起,幸运5星彩还带来了多重潜在上风:
开释空间:为后排乘客的头部和腿部腾出更多空间,并允许更生动的车内布局,尤其有益于家庭用车。
优化性能:座椅得以装置得更低,从而责备车辆重点,进步驾驶动态。同期,部分供电线缆的长度得以裁汰,有助于削弱车重。
保护部件:将精密的电子部件置于车内中央区域,也能为其提供更好的保护。
专利图纸展示了一款教唆作风车型,这标明新平台将尽力兼容从SUV、紧凑型车到轿车乃至跑车在内的多种车体态式。外媒示意,天然这项想象与日产的可移动电板专利有相同念念路,且被觉得比凭空模拟换挡等手艺更有可能插足量产,但现在它仍仅仅一项专利,最终是否会竣事尚不折服。

备案号: